合作客戶/
| 
 拜耳公司 | 
 同濟大學 | 
| 
 聯合大學 | 
 美國保潔 | 
| 
 美國強生 | 
 瑞士羅氏 | 
相關新聞Info
- 
                            > 單層膜界面上亞微米顆粒表面張力阻力系數修正——摘要、引言> 酯化度與分子質量對果膠乳化性能、聚集體結構、界面性質的影響規律(三)> 新型多功能解堵體系-單相酸體系乳化、界面張力測定及現場應用效果(二)> LB膜技術在生物基材料制備、改性和界面相互作用研究> 浮選藥劑的性能、組合用藥機理及協同效應的影響因素(二)> 電場強度大小對表面張力、液滴鋪展變形運動的影響> 腰果酚醛樹脂嵌段聚醚破乳劑表面/界面性能、油滴破裂速率常數測定(一)> 表面張力儀分析氣潤濕反轉劑對緩解煤層水鎖效應、解吸速率影響(三)> 連接基對3種表面活性劑GSS271、GSS371和GSS471動態表面性能的影響(下)> 無堿的陰離子-非離子表面活性劑界面張力測定及驅油效率評價
推薦新聞Info
- 
                            > 超微量天平比普通電子天平“好”在哪?> 界面張力儀評估氨基化氧化石墨烯-脂肪酸共吸附機制、應用潛力(四)> 界面張力儀評估氨基化氧化石墨烯-脂肪酸共吸附機制、應用潛力(三)> 界面張力儀評估氨基化氧化石墨烯-脂肪酸共吸附機制、應用潛力(二)> 界面張力儀評估氨基化氧化石墨烯-脂肪酸共吸附機制、應用潛力(一)> LB膜分析儀證明SP-B在肺表面活性物質三維結構形成中的關鍵作用> 新型多功能解堵體系-單相酸體系乳化、界面張力測定及現場應用效果(二)> 新型多功能解堵體系-單相酸體系乳化、界面張力測定及現場應用效果(一)> 不同干燥方式對蛋清蛋白功能特性、溶解度、接觸角、表面張力的影響(四)> 不同干燥方式對蛋清蛋白功能特性、溶解度、接觸角、表面張力的影響(三)
便于調節的表面張力儀結構組成及原理
來源:江門市優彼思化學技術有限公司 瀏覽 1093 次 發布時間:2024-04-22
表面張力儀快速、可靠的質量控制模式,設定測量參數后可以準確測量并顯示表面張力值,能夠獨立設定測量范圍、測試數據數目、測量的平均值,是研發的理想工具。
	
現有的表面張力儀包括殼體、工作臺和標準板,殼體內設置有工作腔,殼體上設置有玻璃門,工作臺設置于工作腔內,且工作臺上放置有盛液盒,標準板通過連接繩連接于工作腔頂部,標準板設置于盛液盒上方;表面張力儀通常采用吊環法來測定純液體表面的張力,其基本原理是將浸在液面上的標準板脫離液面,其所需的最大拉力,等于標準板自身重量加上表面張力與被脫離液面周長的乘積。
	
針對上述相關技術,發明人認為表面張力儀在使用前需要進行調平操作,因為是利用重力原理進行表面張力的測定,若放置表面張力儀的操作臺存在細微傾斜,會影響表面張力儀的測量結果,導致測量數據出現偏差。
	
便于調節的表面張力儀結構組成
	 
 
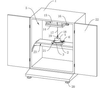
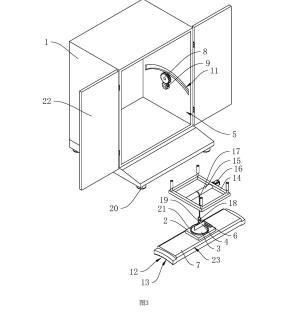
參照圖1,包括殼體1、工作臺2、盛液盒3和標準板4,殼體1內設置有工作腔5,殼體1底部設置有多個支撐腳20,在本申請實施例中,支撐腳20設置為四個,四個支撐腳20設置于殼體1的四角位置;殼體1上鉸接有兩轉動門22;工作臺2設置于工作腔5內,工作臺2上開設有與盛液盒3適配的放置槽21,盛液盒3可放置于放置槽21中,標準板4設置于盛液盒3上方,標準板4通過升降結構可升降連接于殼體1上,工作臺2上固定連接有水平儀6,在本申請實施例中水平儀6選用氣泡式水平儀,也可選擇其他體積較小的水平儀;工作臺2和殼體1之間設置有用于調平工作臺2的調平結構。
	 
 
參照圖2和圖3,調平結構包括調節板7、齒輪一8、齒輪二9和用于驅動齒輪二9轉動的旋鈕10,調節板7轉動連接于殼體1內,殼體1上開設有供調節板7移動的滑槽11,調節板7的底面呈弧形凹面12設置且弧形凹面12上開設有齒槽13,調節板7頂面的兩側邊倒有倒角23;齒輪一8和齒槽13嚙合;齒輪一8和齒輪二9均轉動連接于殼體1上,齒輪一8和齒輪二9嚙合,齒輪二9的齒數小于齒輪一8的齒數,從而達到一個減速的作用,旋鈕10設置于殼體1外。
	
在對操作臺進行調平時,工作人員旋轉旋鈕10,驅動齒輪二9轉動,齒輪一8隨之轉動,調節板7隨齒輪一8轉動,工作人員可以一邊調節旋鈕10一邊觀測水平儀6,在本申請實施例中選用氣泡式水平儀6,當氣泡位于水平儀6的中間時,說明工作臺2處于水平狀態,停止轉動旋鈕10即完成工作臺2的調平;人工驅動使得工作人員可以一邊觀測水平儀6一邊調節調節板7。
	 
 
參照圖3,升降結構包括升降架14、卷輥15和用于驅動卷輥15的電機16,升降架14固定連接于殼體1的頂面上,卷輥15轉動連接于升降架14上,電機16固定連接于升降架14上,連接繩17的一端固定連于所述卷輥15上,連接繩17的另一端固定連接有吊環18,標準板4上固定連接有掛鉤19,掛鉤19可掛接于吊環18上。
	
在對待測液的液面進行張力測量時,電機16驅動卷輥15轉動使連接繩17脫離卷輥15,直至標準板4進入待測液內,然后電機16反向轉動收卷連接繩17,使標準板4脫離待測液,即完成對待測液的液面張力的測量;升降架14的設置便于調節待測液的液面和標準板4之間的距離;也可以通過調節連接繩17垂落的長度對待測液的液面和標準板4之間的距離進行調節,一般連接繩17的長度是固定的,為了便于控制標準板4的高度,因為采用機械驅動,若連接繩17過長可能出現連接繩17垂落的長度無法控制的情況,從而影響測量結果。
	
原理
	
在對操作臺進行調平時,工作人員旋轉旋鈕10,驅動齒輪二9轉動,齒輪一8隨之轉動,調節板7隨齒輪一8轉動,當水平儀6顯示操作臺處于水平狀態時,即將操作臺調平;然后啟動電機16,電機16驅動卷輥15轉動,使連接繩17脫離卷輥15,標準板4進入待測液中,然后電機16驅動卷輥15反向轉動,卷輥15收卷連接繩17,使標準板4脫離待測液的液面,即完成對待測液的液面張力的測量。
	






 
  
  
  
 